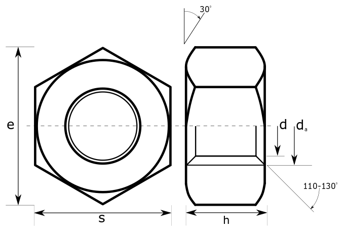
BS 3692 Full Nuts

d | M1.6 | M2 | M2.5 | M3 | M4 | M5 | M6 | M8 | M10 | M12 | (M14) | M16 | (M18) | M20 | (M22) | M24 | (M27) | M30 | (M33) | M36 | (M39) | M42 | (M45) | M48 | (M52) | M56 | (M60) | M64 | ||
---|---|---|---|---|---|---|---|---|---|---|---|---|---|---|---|---|---|---|---|---|---|---|---|---|---|---|---|---|---|---|
Across Flat | s | max | 3.2 | 4 | 5 | 5.5 | 7 | 8 | 10 | 13 | 17 | 19 | 22 | 24 | 27 | 30 | 32 | 36 | 41 | 46 | 50 | 55 | 60 | 65 | 70 | 75 | 80 | 85 | 90 | 95 |
min | 3.08 | 3.88 | 4.88 | 5.38 | 6.85 | 7.85 | 9.78 | 12.73 | 16.73 | 18.67 | 21.67 | 23.67 | 26.69 | 29.67 | 31.61 | 35.38 | 40.38 | 45.38 | 49.38 | 54.26 | 59.26 | 64.26 | 69.26 | 74.26 | 79.26 | 84.13 | 89.13 | 94.13 | ||
Overall Thickness | h | max | 1.3 | 1.6 | 2 | 2.4 | 3.2 | 4 | 5 | 6.5 | 8 | 10 | 11 | 13 | 15 | 16 | 18 | 19 | 22 | 24 | 26 | 29 | 31 | 34 | 36 | 38 | 42 | 45 | 48 | 51 |
min | 1.05 | 1.35 | 1.75 | 2.15 | 2.9 | 3.7 | 4.7 | 6.14 | 7.64 | 9.64 | 10.57 | 12.57 | 14.57 | 15.57 | 17.57 | 18.48 | 21.48 | 23.48 | 25.48 | 28.48 | 30.38 | 33.38 | 35.38 | 37.38 | 41.38 | 44.38 | 47.38 | 50.26 | ||
Countersink Diameter | da | max | 1.84 | 2.3 | 2.88 | 3.45 | 4.6 | 5.75 | 6.75 | 8.75 | 10.8 | 12.96 | 15.12 | 17.28 | 19.44 | 21.6 | 23.76 | 25.92 | 29.16 | 32.4 | 35.64 | 38.88 | 42.12 | 45.36 | 48.6 | 51.84 | 56.16 | 60.48 | 64.8 | 69.12 |
min | 1.6 | 2 | 2.5 | 3 | 4 | 5 | 6 | 8 | 10 | 12 | 14 | 16 | 18 | 20 | 22 | 24 | 27 | 30 | 33 | 36 | 39 | 42 | 45 | 48 | 52 | 56 | 60 | 64 | ||
Across Corner | e | max | 3.7 | 4.6 | 5.8 | 6.4 | 8.1 | 9.2 | 11.5 | 15 | 19.6 | 21.6 | 25.4 | 27.7 | 31.2 | 34.6 | 36.9 | 41.6 | 47.3 | 53.1 | 57.7 | 63.5 | 69.3 | 75.1 | 80.8 | 86.6 | 92.4 | 92.1 | 103.9 | 109.7 |
min | 3.48 | 4.38 | 5.51 | 6.08 | 7.74 | 8.87 | 11.05 | 14.38 | 18.9 | 21.1 | 24.49 | 26.75 | 30.14 | 33.53 | 35.72 | 39.98 | 45.63 | 51.28 | 55.8 | 61.31 | 66.96 | 72.61 | 78.26 | 83.91 | 89.56 | 95.07 | 100.72 | 106.37 |
Sizes in brackets are non preferred sizes and should be avoided if possible.