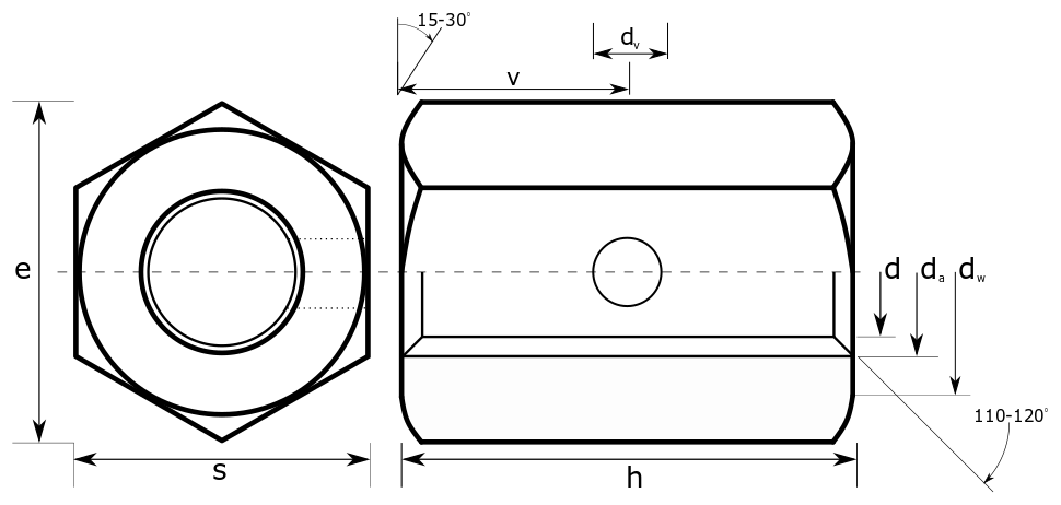
ASME/ANSI B18.2.2 Hexagon Coupling Nuts

Across Flats | Overall Height | Countersink Diameter |
Bearing Diameter | Viewing Hole | |||||||||||
---|---|---|---|---|---|---|---|---|---|---|---|---|---|---|---|
d | s | h | da | dw | v | dv | |||||||||
Nom | Nom | Max | Min | Nom | Max | Min | Nom | Max | Min | Nom | Max | Min | Dia Max | Dia Min | |
#6 | 0.138 | 5/16 | 0.312 | 0.302 | 1/2 | 0.510 | 0.470 | 0.168 | 0.312 | 0.296 | 1/4 | 0.255 | 0.235 | 0.055 | 0.028 |
#8 | 0.164 | 5/16 | 0.312 | 0.302 | 5/8 | 0.645 | 0.595 | 0.194 | 0.312 | 0.296 | 1/3 | 0.323 | 0.298 | 0.066 | 0.033 |
#10 | 0.190 | 5/16 | 0.312 | 0.302 | 3/4 | 0.760 | 0.711 | 0.220 | 0.312 | 0.296 | 3/8 | 0.380 | 0.356 | 0.076 | 0.038 |
1/4 | 0.250 | 7/16 | 0.438 | 0.428 | 1.3/4 | 1.760 | 1.690 | 0.280 | 0.438 | 0.416 | 7/8 | 0.880 | 0.845 | 0.100 | 0.050 |
5/16 | 0.312 | 1/2 | 0.500 | 0.489 | 1.3/4 | 1.760 | 1.690 | 0.342 | 0.500 | 0.475 | 7/8 | 0.880 | 0.845 | 0.125 | 0.062 |
3/8 | 0.375 | 9/16 | 0.562 | 0.551 | 1.3/4 | 1.760 | 1.690 | 0.405 | 0.562 | 0.534 | 7/8 | 0.880 | 0.845 | 0.150 | 0.075 |
7/16 | 0.437 | 5/8 | 0.625 | 0.607 | 1.3/4 | 1.760 | 1.690 | 0.472 | 0.625 | 0.594 | 7/8 | 0.880 | 0.845 | 0.175 | 0.087 |
1/2 | 0.500 | 11/16 | 0.688 | 0.663 | 1.3/4 | 1.760 | 1.690 | 0.540 | 0.688 | 0.654 | 7/8 | 0.880 | 0.845 | 0.200 | 0.100 |
9/16 | 0.562 | 13/16 | 0.813 | 0.782 | 2.1/8 | 2.135 | 2.067 | 0.607 | 0.813 | 0.772 | 1 | 1.068 | 1.034 | 0.225 | 0.112 |
5/8 | 0.625 | 13/16 | 0.813 | 0.782 | 2.1/8 | 2.135 | 2.067 | 0.675 | 0.813 | 0.772 | 1 | 1.068 | 1.034 | 0.250 | 0.125 |
3/4 | 0.750 | 1 | 1.000 | 0.963 | 2.1/4 | 2.260 | 2.190 | 0.810 | 1.000 | 0.950 | 1 1/8 | 1.130 | 1.095 | 0.300 | 0.150 |
7/8 | 0.875 | 1.1/4 | 1.250 | 1.212 | 2.1/2 | 2.510 | 2.440 | 0.945 | 1.250 | 1.188 | 1 1/4 | 1.255 | 1.220 | 0.350 | 0.175 |
1 | 1.000 | 1.3/8 | 1.375 | 1.325 | 2.3/4 | 2.760 | 2.690 | 1.080 | 1.375 | 1.306 | 1 3/8 | 1.380 | 1.345 | 0.400 | 0.200 |
1.1/8 | 1.125 | 1.1/2 | 1.500 | 1.450 | 3 | 3.010 | 2.940 | 1.215 | 1.500 | 1.425 | 1 1/2 | 1.505 | 1.470 | 0.450 | 0.225 |
1.1/4 | 1.250 | 1.5/8 | 1.625 | 1.575 | 3 | 3.010 | 2.940 | 1.350 | 1.625 | 1.544 | 1 1/2 | 1.505 | 1.470 | 0.500 | 0.250 |
1.1/2 | 1.500 | 2 | 2.000 | 1.950 | 3.1/2 | 3.510 | 3.440 | 1.620 | 2.000 | 1.900 | 1 3/4 | 1.755 | 1.720 | 0.600 | 0.300 |
1.5/8 | 1.625 | 2.9/16 | 2.562 | 2.481 | 4.7/8 | 4.910 | 4.830 | 1.755 | 2.562 | 2.434 | 2 1/2 | 2.455 | 2.415 | 0.650 | 0.325 |
1.3/4 | 1.750 | 2.3/4 | 2.750 | 2.662 | 5.1/4 | 5.290 | 5.210 | 1.890 | 2.750 | 2.613 | 2 2/3 | 2.645 | 2.605 | 0.700 | 0.350 |
1.7/8 | 1.875 | 2 15/16 | 2.938 | 2.884 | 5.5/8 | 5.670 | 5.580 | 2.025 | 2.938 | 2.791 | 2 5/6 | 2.835 | 2.790 | 0.750 | 0.375 |
2 | 2.000 | 3.1/8 | 3.125 | 3.025 | 6 | 6.040 | 5.950 | 2.160 | 3.125 | 2.969 | 3 | 3.020 | 2.975 | 0.800 | 0.400 |
2.1/4 | 2.250 | 3.1/2 | 3.500 | 3.388 | 6.3/4 | 6.800 | 6.700 | 2.430 | 3.500 | 3.325 | 3 2/5 | 3.400 | 3.350 | 0.900 | 0.450 |
2.1/2 | 2.500 | 3.7/8 | 3.875 | 3.750 | 7.1/2 | 7.550 | 7.440 | 2.700 | 3.875 | 3.681 | 3 7/9 | 3.775 | 3.720 | 1.000 | 0.500 |
2.3/4 | 2.750 | 4.1/4 | 4.250 | 4.112 | 8.1/4 | 8.310 | 8.190 | 2.970 | 4.250 | 4.038 | 4 1/6 | 4.155 | 4.095 | 1.000 | 1.000 |