DIN 6334 Hexagon Connector Nuts
It must be noted there should have been a draft standard for DIN 6334 in 1943, which was never published as a standard and probably fell into disregard during the war. Unfortunately, the withdrawal of this draft can no longer be traced. In various catalogues, however, DIN 6334 is still used today by mistake or as a "sales argument".
No grade marking or torque figures can be specified for this fastener type due to the lack of a formalised standard.
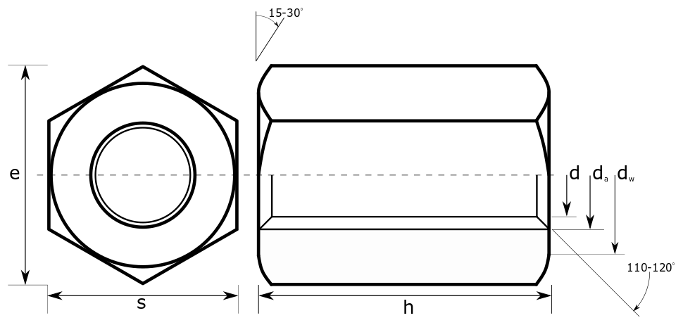
Hexagon connector or coupling nut
| Across Flat | Overall Thickness |
Countersink Diameter |
Bearing Diameter |
Across Corner |
||||
|---|---|---|---|---|---|---|---|---|
| s | h | da | dw | e | ||||
| max | min | max | min | max | min | min | min | |
| M5 | 8 | 7.78 | 15 | 14.3 | 8.92 | |||
| M6 | 10 | 9.78 | 18 | 17.3 | 6.75 | 6 | 8.8 | 11.05 |
| (M7) | 11 | 10.73 | 21 | 20.16 | 7.75 | 7 | 9.5 | 12.12 |
| M8 | 13 | 12.73 | 24 | 23.16 | 8.75 | 8 | 11.3 | 14.38 |
| M10 | 17 | 16.73 | 30 | 29.16 | 10.8 | 10 | 15.3 | 18.9 |
| M12 | 19 | 18.67 | 36 | 35.16 | 13 | 12 | 17.2 | 20.1 |
| (M14) | 22 | 21.67 | 42 | 41 | 15.1 | 14 | 20.2 | 24.49 |
| M16 | 24 | 23.67 | 48 | 47 | 17.3 | 16 | 22.2 | 26.75 |
| (M18) | 27 | 26.16 | 54 | 53 | 19.5 | 18 | 24.8 | 29.56 |
| M20 | 30 | 29.16 | 60 | 59 | 21.6 | 20 | 27.7 | 32.95 |
| (M22) | 32 | 31 | 66 | 65 | 23.8 | 22 | 29.5 | 35.03 |
| M24 | 36 | 35 | 72 | 71 | 25.9 | 24 | 33.3 | 39.55 |
| (M27) | 41 | 40 | 81 | 79.73 | 29.2 | 27 | 38 | 45.2 |
| M30 | 46 | 45 | 90 | 88.73 | 32.4 | 30 | 42.8 | 50.85 |
| (M33) | 50 | 49 | 99 | 97.73 | 35.6 | 33 | 46.6 | 55.37 |
| M36 | 55 | 53.8 | 108 | 106 | 38.9 | 36 | 51.1 | 60.79 |